Fitbit Applies for Patent for Blood Pressure Monitoring Device: What to Expect?

Fitbit Applies for Patent for Blood Pressure Monitoring Device: What to Expect?. Fitbit has recently applied for a patent for a force-sensitive display to measure blood pressure with wearable devices. While this is an interesting design, it is not guaranteed to make it to production on a Fitbit or Pixel smartwatch.
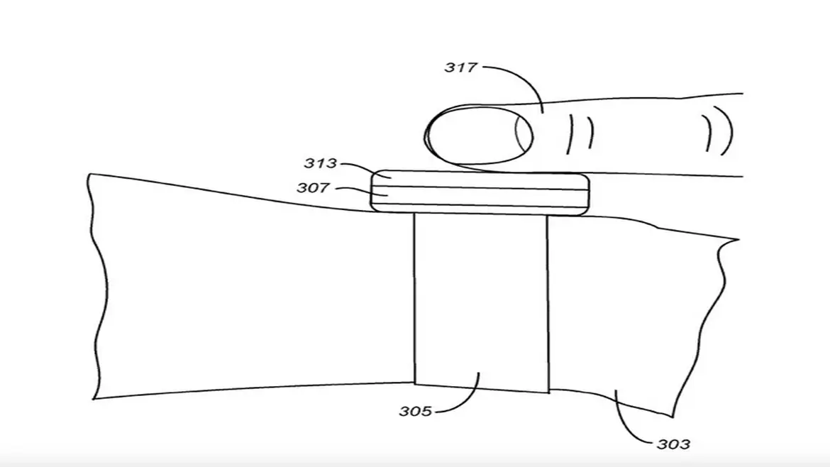
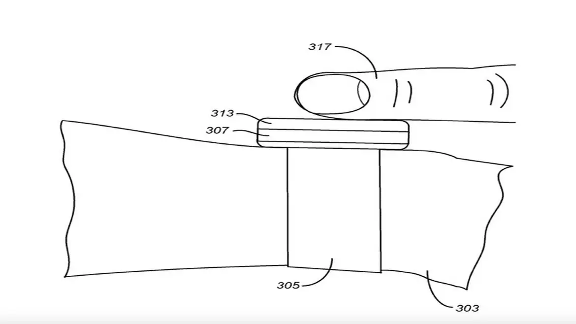
The patent design takes inspiration from the standard blood pressure cuff, which involves obstructing the blood flow in the artery and then gradually relieving the pressure to gauge blood pressure accurately. This differs from the mechanism most watches currently sold in the US, use a PPG sensor to measure blood pressure when worn.
Samsung has included blood pressure measuring in its Galaxy Watches for some time, but it employs a different mechanism that calls for regular calibration to a conventional cuff and is not available in the US due to regulatory restrictions. In addition to this, the FDA-approved Omron Heart Guide is a smartwatch whose strap can also be used as an inflatable cuff.
Fitbit’s spin on this technology remains to be seen, and there are concerns about the brand’s position following its acquisition by Google, which has now taken a backseat to the more premium Pixel brand and the first smartwatch it produced last year. Furthermore, patents filed rarely make for a reliable source of news on upcoming product launches, as sometimes they are filed as a legal tool to preserve ideas and “call dibs” on certain innovations.
In conclusion, Fitbit’s patent for a force-sensitive display to measure blood pressure with wearable devices is an interesting design that has the potential to enhance health monitoring for users. However, whether or not this technology will make it to production on a Fitbit or Pixel smartwatch remains to be seen, and further developments are awaited.







